Put- en gootaansluitingen
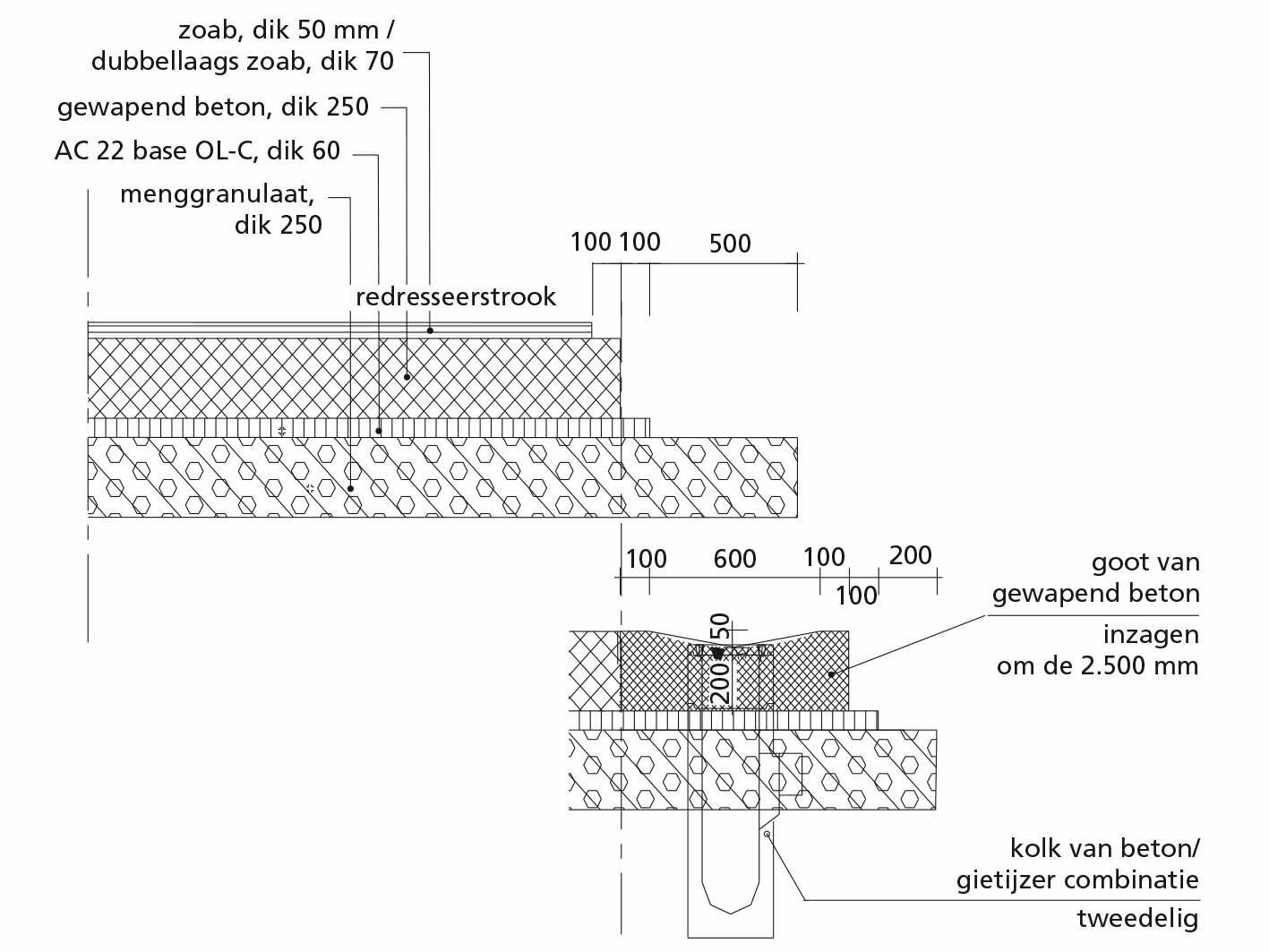
De afvoer van hemelwater kan nodig zijn bij ligging in een waterwingebied en in bochten. Voor de afvoer van hemelwater wordt vaak gebruik gemaakt van gestorte lijngoten in combinatie met kolken. Deze goot wordt op regelmatige afstanden, afhankelijk van andere omliggende zaagsneden, voorzien van voldoende zaagsneden. Figuur 24 geeft een detail van een gootconstructie met daarin opgenomen een tweedelige kolk. Voor het storten moet ethafoam langs de kolken worden aangebracht.
Meer informatie over aansluitingen is te vinden in ‘Detailleren van beëindigingen en aansluitingen‘ van het onderdeel ‘Basisconstructies in beton´.

Figuur 24. Dwarsdoorsnede en detail van gootconstructie


