Europese normen
| NEN-EN 1317-1:2010 | Terminologie en algemene criteria voor beproevingsmethoden |
| NEN-EN 1317-2:2010 | Prestatieklassen, botsproef-beoordelingscriteria en beproevingsmethoden voor vangrails en voertuiggeleiding |
| NEN-EN 1317-3:2010 | Prestatieklassen, beoordelingscriteria voor botsproeven en beproevingsmethoden voor obstakelbeveiligers |
| NVN-ENV 1317-4:2001 | Prestatieklassen, aanvaardingscriteria voor botsproeven en beproevingsmethoden voor begin- en eindconstructies en overgangsconstructies van geleiderail |
| NEN-EN 13-17-5: 2007 + A2:2012 | Producteisen en conformiteitsbeoordeling voor afschermende constructies voor wegvoertuigen |
| NPR-CEN/TR 1317-6:2012 en | Afschermende systemen voor voetgangers – Borstwering voor voetgangers |
| NPR-CEN/TS 1317-8:2012 en | Afschermende constructies voor motoren op wegen welke de ernst van botsingen van motorrijders tegengaan door middel van vangrails |
| NPR-CEN/TR 16303-1 tot en met 4:2012 en | Richtlijnen voor computationele mechanica van botsproeven tegen afschermende constructies voor wegvoertuigen |
| prEN 1317-4 | Prestatieklassen, aanvaardingscriteria voor botsproeven en beproevingsmethoden voor begin- en eindconstructies en overgangsconstructies van geleiderail |
| prEN 1317-5 | Producteisen en conformiteitsbeoordeling voor afschermende constructies voor wegvoertuigen |
| prEN 1317-7 | Prestatieklassen, aanvaardingscriteria voor botsproeven en beproevingsmethoden voor beginconstructies van geleiderail |
Genormaliseerde botsproeven
In de Europese norm EN 1317-1 zijn genormaliseerde ontwerpvoertuigen en botsproefcondities opgenomen. In tabel 3 is een overzicht gegeven van de verschillende botsproeven.
| Test | Voertuigtype | Massa (kg) | Snelheid (km/u) | Inrijhoek (°) |
| TB11 | Personenauto | 900 | 100 | 20 |
| TB21 | Personenauto | 1300 | 80 | 8 |
| TB22 | Personenauto | 1300 | 80 | 15 |
| TB31 | Personenauto | 1500 | 80 | 20 |
| TB32 | Personenauto | 1500 | 110 | 20 |
| TB41 | Vrachtauto | 10000 | 70 | 8 |
| TB42 | Vrachtauto | 10000 | 70 | 15 |
| TB51 | Autobus | 13000 | 70 | 20 |
| TB61 | Vrachtauto | 16000 | 80 | 20 |
| TB71 | Vrachtauto | 30000 | 65 | 20 |
| TB81 | Gelede vrachtauto | 38000 | 65 | 20 |
Prestatieklassen
In de Europese norm EN1317-2 worden vijftien prestatieklassen onderscheiden (zie tabel 4). Hoe hoger de prestatieklasse, hoe sterker de constructie. Of anders gezegd, hoe groter de belasting die de constructie kan opvangen. Deze parameter valt onder de algemene eis ‘Mechanische sterkte en stabiliteit’. Voor elke prestatieklasse zijn de daarbij behorende botsproeven vermeld. Een constructie in een bepaalde klasse moet de in de tabel genoemde voertuigen onder aangegeven voorwaarden, zoals snelheid en inrijhoek, kunnen keren.
De volgende prestatieniveaus worden onderscheiden:
- tijdelijke voertuigkering (low angle containment): T1, T2, T3;
- normale prestatie (normal containment): N1, N2;
- hoge prestatie (high containment): H1, H2, H3;
- zeer hoge prestatie (very high containment): H4a en H4b.
De niveaus T1, T2 en T3 zijn bedoeld voor tijdelijke beveiligingsconstructies. Deze kunnen echter ook getest worden voor hogere niveaus. Een met succes geteste kering voor een specifiek niveau wordt eveneens geacht te voldoen aan lagere niveaus. Dit geldt echter niet voor de niveaus N1 en N2, omdat deze niet eisen voor niveau T3 omvatten. T3 bevat namelijk eveneens een test voor vrachtwagens, N1 en N2 niet.
In 2010 zijn aan de prestatieklassen enkele klassen toegevoegd: L1, L2 en L3; L4a en L4b. Deze klassen vereisen dezelfde testen als de overeenkomstige H-klassen, waar echter de test TB32 (auto van 1500 kg; snelheid 110 km met inrijhoek van 20°) aan toe is gevoegd.
| Kerend vermogen | Klasse | Test |
| Tijdelijk | T1 | TB21 |
| T2 | TB22 | |
| T3 | TB41 + TB21 | |
| Normaal | N1 | TB31 |
| N2 | TB32 + TB11 | |
| Hoog | H1 | TB42 + TB11 |
| L1 | TB42 + TB32 + TB11 | |
| H2 | TB51 + TB11 | |
| L2 | TB51 + TB32 + TB11 | |
| H3 | TB61 + TB11 | |
| L3 | TB61 + TB32 + TB11 | |
| Zeer hoog | H4a | TB71 + TB11 |
| L4a | TB71 + TB32 + TB11 | |
| H4b | TB81 + TB11 | |
| L4b | TB81 + TB32 + TB11 |
Letselkans
De letselkans wordt weergegeven door de ASI- en THIV-waarden. Deze waarden zijn indicatief voor de kans op letsel aan inzittenden tijdens een aanrijding. Een indeling van de verschillende schokniveaus is gegeven in tabel 5.
| Schokniveau | Schokindex (ASI) | THIV |
| A | ≤ 1,0 | ≤ 33 km/u |
| B | ≤ 1,4 | ≤ 33 km/u |
| C | ≤ 1,9 | ≤ 33 km/u |
ASI: Accelaration Severity Index
De ASI-waarde is de resultante van de in het zwaartepunt van het voertuig gemeten vertragingen in verschillende richtingen. De ASI-waarde geeft een maat voor de voertuigvertraging of een indicatie van de krachten, die op inzittenden worden uitgeoefend tijdens de aanrijding. Hoe hoger de waarde, hoe kritischer en slechter voor het menselijk lichaam. De ASI-schokindex wordt ontleend aan de lichtste van de twee uitgevoerde testen. In Europa wordt ASI A als zeer veilig en ASI B als veilig beschouwd.
THIV: Theoretical Head Impact Velocity
THIV is de hoogste snelheid in km/uur in een richting, die zich tijdens de botsing voordoet op het hoofd van de inzittende. De THIV is ontwikkeld voor het bepalen van de ernst van de botsing voor inzittenden van voertuigen, die betrokken zijn bij ongevallen met beveiligingssystemen. De inzittende wordt gezien als een vrij bewegend object (hoofd) dat, als de snelheid van het voertuig verandert tijdens het contact met het beveiligingssysteem, blijft bewegen tot het een oppervlak aan de binnenzijde van het voertuig raakt. THIV is de relatieve snelheid die het hoofd bezit op het moment van impact. De grootte van de THIV parameter wordt beschouwd als een maat voor de impact hevigheid.
Werkende breedte
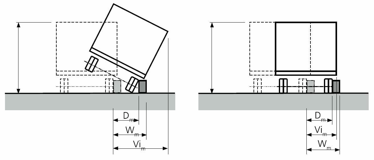
Bij aanrijding van een geleideconstructie zal deze, afhankelijk van de stijfheid, in meer of mindere mate zijdelings uitbuigen. Deze uitbuigingsruimte is van belang voor een goede werking en de benodigde ruimte in het dwarsprofiel. De werkende breedte is de som van de breedte van de constructie zelf én de uitbuigingsruimte.
De werkingsbreedte wordt ontleend aan de test met het zwaarste voertuig (vrachtwagen of autobus). De klasse indeling is opgenomen in tabel 6. Een constructie met een eigen breedte van 0,7 m en een werkende breedte W4, heeft dus een maximale uitbuigingsruimte van 0,6 m. In figuur 4 zijn verschillende situaties toegelicht met betrekking tot uitbuigingsruimte en werkende breedte. Op basis hiervan kan de afstand bepaald worden tussen de constructie en een te beschermen object. Op plaatsen waar geen mogelijkheid bestaat om uit te buigen, moet dus voor een stijvere constructie worden gekozen met een geringe werkende breedte.
| Klasse | Werkende breedte |
| W1 | WN ≤ 0,6 m |
| W2 | WN ≤ 0,8 m |
| W3 | WN ≤ 1,0 m |
| W4 | WN ≤ 1,3 m |
| W5 | WN ≤ 1,7 m |
| W6 | WN ≤ 2,1 m |
| W7 | WN ≤ 2,5 m |
| W8 | WN ≤ 3,5 m |

Figuur 4: Uitbuigingsruimte (Dm) en werkende breedte (Wm)
Voertuigindringing
Naast de zijdelingse verplaatsing van de voertuigkering en de werkende breedte speelt ook de indringing en het overhellen van een voertuig (vrachtauto) een rol. In EN1317-2 wordt dit ‘Vehicle Intrusion of Heavy Goods Vehicle’ (VIm) genoemd.
De voertuigindringing is gedefinieerd als de maximale zijdelingse verplaatsing van het voertuig gemeten vanaf de oorspronkelijk positie van de voertuigkering. Tijdens botsproeven moet de voertuigindringing worden vastgelegd met foto- of videobeelden.

Figuur 5: Voertuigindringing (Vim)
De uitbuigingsruimte, de werkende breedte en de voertuigindringing bepalen de randvoorwaarden voor de keuze van het type voertuigkering in relatie tot de afstand van te beveiligen objecten.
EN 1317-2 bevat berekeningsmethoden om de gemeten waarden Dm, Wm en VIm om te zetten naar genormaliseerde waarden DN, WN en VIN.
Voor de klasse indeling van WN en VIN, zie de tabellen 6 en 7.
| Klasse | Voertuigindringing |
| VI1 | VIN ≤ 0,6 m |
| VI2 | VIN ≤ 0,8 m |
| VI3 | VIN ≤ 1,0 m |
| VI4 | VIN ≤ 1,3 m |
| VI5 | VIN ≤ 1,7 m |
| VI6 | VIN ≤ 2,1 m |
| VI7 | VIN ≤ 2,5 m |
| VI7 | VIN ≤ 3,5 m |
Obstakelbeveiligers, begin-, eind- en overgangsconstructies
In EN-1317-3 worden de prestatieklassen, beoordelingscriteria voor botsproeven en beproevingsmethoden voor obstakelbeveiligers beschreven.
ENV-1317-4 beschrijft prestatieklassen, aanvaardingscriteria voor botsproeven en beproevingsmethoden voor begin- en eindconstructies en overgangsconstructies van geleideconstructies
Aan begin- en eindconstructies van voertuigkeringen worden specifieke eisen gesteld, die erop zijn gericht dat deze geen extra gevaar opleveren voor inzittenden van personenvoertuigen.
Overgangsconstructies van het ene type voertuigkering naar het andere moeten een geleidelijke en veilige overgang bewerkstelligen.
Een calamiteitendoorgang (CADO) is een verwijderbaar gedeelte van een voertuigkering, die in noodsituaties en eventueel onderhoud tijdelijk verwijderd kan worden. In gesloten positie moet dit gedeelte, inclusief de aansluitingen aan beide zijden op de vaste voertuigkering, uiteraard voldoen aan de gestelde eisen voor de gehele voertuigkering.
Op de markt zijn diverse systemen en constructies beschikbaar, die zijn getest en goedgekeurd volgens de ENV-1317-4. Dit geldt zowel voor overgangsconstructies tussen betonnen barriersystemen (van prefab naar prefab, van in-situ beton naar in-situ beton en van prefab naar in-situ beton) en tussen betonnen barriers en geleiderailsystemen.
Anno 2015 ligt er een voorstel bij CEN om de ENV-1317-4 op te splitsen in twee nieuwe standaard normen:
- EN-1317-4 voor overgangsconstructies en calamiteitendoorgangen;
- EN-1317-7 voor begin- en eindconstructies.
Veiligheid voor motorrijders
Voertuigkeringen zijn in principe ontworpen om auto’s, bussen en trucks veilig te kunnen keren. Dat betekent dat ze niet per definitie ook andere weggebruikers als motorrijders beschermen. In tegendeel, in sommige situaties kan de voertuigkering zelf een gevaar zijn voor motorrijders. Dit is bijvoorbeeld het geval bij voertuigkeringen, die bestaan uit kabels. Dit soort voertuigkeringen zijn in Nederland niet toegestaan. Zelfs de traditionele stalen geleiderails bevestigd op stalen staanders kunnen een gevaar vormen voor motorrijders. Betonnen barriersystemen met een glad en gesloten oppervlak worden niet aangemerkt als gevaarlijk voor motorrijders.
In verschillende Europese landen zijn aanvullende onderdelen ontwikkeld voor met name stalen geleiderailsystemen om motorrijders te beschermen tegen de gevaarlijke delen van de geleiderail. Voor deze aanvullende onderdelen is een testmethode ontwikkeld. Deze testmethode is opgenomen, als normatieve referentietest, in CEN/TS 1317-8 ‘Motorcycle road restraint systems which reduce the impact severity of motorcyclist collisions with safety barriers’.
Deze testmethode, die nu nog als technische specificatie (TS) is opgenomen, kan in de toekomst worden omgezet naar Europese standaard EN-norm.

Figuur 6: Een van de drie botsconfiguraties voor het testen van de veiligheid van motorrijders
In de testen wordt alleen het ‘glijden’ van de motorrijder in beschouwing genomen. De botscondities worden uitgevoerd onder een hoek van 30 graden, op drie verschillende plaatsen met snelheden van 60 en 70 km/u. Tijdens de test worden de krachten op het hoofd en de nek gemeten en vergeleken met de Head Injury Criteria (HIC) niveaus HIC 650 en HIC 1000.


